Diffusori in alluminio a lunga gittata orientabili con angolatura max 30°.
Materiale: alluminio.
Finitura: alluminio satinato.
Installazione: con flangia (a canale) o con raccordo (a tubo flex).
Altezza di installazione compresa tra 3 m e 30 m in base al modello.
EDU/S Diffusori a ugello orientabili a lunga gittata con serranda.
EDU/SM Diffusori a ugello orientabili a lunga gittata con serranda con predisposizione per motore.
Ambienti con soffitti molto alti o dove sia necessaria una distribuzione dell’aria a distanza e/o localizzata.
-Servomotori per EDU/SM: il servomotore viene fornito disassemblato dal diffusore a lunga gittata (installazione a carico del cliente).
-Coprighiera.
-Con swirl posteriore (riduttore di lancio).
-Raccordo per tubo flessibile.
-Raccordo per canale circolare.
-Verniciatura RAL a vostra scelta.
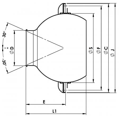
tutte le dimensioni sono espresse in mm
| modello | sezione efficace m2 | ØD | ØS | ØC | ØF | E | L1 | ØJ | Øforo |
| 80 | 0,0059 | 80 | 160 | 245 | 226 | 92 | 149 | 249 | 205 |
| 150 | 0,0183 | 150 | 300 | 385 | 366 | 173 | 276 | 389 | 352 |
| 200 | 0,0325 | 200 | 400 | 485 | 466 | 226 | 367 | 489 | 452 |
| 230 | 0,0432 | 230 | 400 | 485 | 466 | 216 | 357 | 489 | 452 |
| 250 | 0,0513 | 250 | 400 | 485 | 466 | 208 | 349 | 489 | 452 |
| 300 | 0,0745 | 300 | 400 | 485 | 466 | 184 | 325 | 489 | 452 |
Vk: velocità efficace (m/s)
m³/h: portata
Pa: perdite di carico in Pascal
L(m): lancio in metri calcolato con installazione a filo soffitto e velocità terminale 0,25 m/s
dB(A): indice di rumorosità
Dal modello 40 al 200 realizzato con cono centrale, modello 230 senza cono centrale
| modello | Vk (m/s) | 2 | 4 | 6 | 8 | 10 |
| 80 | m³/h | 36 | 72 | 108 | 135 | 168 |
| L(m) | 4,0 | 8,0 | 12,0 | 15,0 | 19,0 | |
| Pa | 2,0 | 10 | 22 | 36 | 57 | |
| dB(A) | <20 | <20 | <20 | 22 | 29 | |
| 150 | m³/h | 127 | 254 | 382 | 509 | 637 |
| L(m) | 6,0 | 12,0 | 19,0 | 25,0 | 32,0 | |
| Pa | 2 | 8 | 19 | 34 | 55 | |
| dB(A) | <20 | <20 | 21 | 29 | 37 | |
| 200 | m³/h | 226 | 452 | 678 | 904 | 1130 |
| L(m) | 8,0 | 17,0 | 25,0 | 34,0 | 42,0 | |
| Pa | 2 | 8 | 19 | 34 | 55 | |
| dB(A) | <20 | <20 | 20 | 28 | 35 | |
| 230 | m³/h | 298 | 597 | 896 | 1195 | 1494 |
| L(m) | 9,0 | 20,0 | 29,0 | 39,0 | 45,0 | |
| Pa | 2 | 8 | 19 | 34 | 55 | |
| dB(A) | <20 | <20 | 21 | 28 | 35 | |
| 250 | m³/h | 353 | 707 | 1060 | 1413 | 1766 |
| L(m) | 10,0 | 21,0 | 31,0 | 42,0 | 48,0 | |
| Pa | 2 | 8 | 19 | 34 | 55 | |
| dB(A) | <20 | <20 | 24 | 31 | 36 | |
| 300 | m³/h | 509 | 1017 | 1526 | 2035 | 2543 |
| L(m) | 13,0 | 25,0 | 36,0 | 44,0 | 51,0 | |
| Pa | 2 | 8 | 19 | 34 | 55 | |
| dB(A) | <20 | <20 | 23 | 30 | 35 |
D* Coprighiera
Tutte le misure sono espresse in mm.
| Dn | A | B | C | D* | E | F | G min | H min | MOT. ON / OFF | MOT. MODULANTE |
| 80 | 80 | 158 | 200 | 258 | 204 | 50 | 38 | 60 | CM24-L / CM230-L | CM24-SR-L |
| 150 | 150 | 313 | 283 | 388 | 352 | 60 | 70 | 85 | NM24A / NM230A | NM24A-SR / NM230ASR |
| 200 | 200 | 398 | 283 | 488 | 452 | 60 | 70 | 85 | NM24A / NM230A | NM24A-SR / NM230ASR |
| 230 | 230 | 398 | 283 | 488 | 452 | 60 | 70 | 85 | NM24A / NM230A | NM24A-SR / NM230ASR |
| 250 | 250 | 398 | 283 | 488 | 452 | 60 | 70 | 85 | NM24A / NM230A | NM24A-SR / NM230ASR |
| 300 | 300 | 398 | 283 | 488 | 452 | 60 | 70 | 85 | NM24A / NM230A | NM24A-SR / NM230ASR |
| modello | ØA | ØB | C | D | E | ØF int | L |
| EDU-RF 80 | 158 | 230 | 60 | 100 | 60 | 210 | 220 |
| EDU-RF 150 | 248 | 378 | 60 | 130 | 60 | 358 | 250 |
| EDU-RF 200 | 398 | 480 | 60 | 170 | 60 | 460 | 290 |
| EDU-RF 230 | 398 | 480 | 60 | 170 | 60 | 460 | 290 |
| EDU-RF 250 | 398 | 480 | 60 | 170 | 60 | 460 | 290 |
| EDU-RF 300 | 398 | 480 | 60 | 170 | 60 | 460 | 290 |
| modello | L2 | Ø D1 | Ø D2 | Ø canale | |
| min | max | ||||
| EDU-RC 80 | 200 | 210 | 230 | 315 | 630 |
| EDU-RC 150 | 300 | 358 | 378 | 500 | 800 |
| EDU-RC 200 | 350 | 460 | 480 | 500 | 1000 |
| EDU-RC 230 | 350 | 460 | 480 | 500 | 1000 |
| EDU-RC 250 | 350 | 460 | 480 | 500 | 1000 |
| EDU-RC 300 | 350 | 460 | 480 | 500 | 1000 |
Il deflettore swirl applicato nella parte posteriore del diffusore ad ugelli genera un moto di rotazione che aumenta l'induzione e riduce il lancio del diffusore del 40% ed è particolarmente indicato per l'immissione di portate aria elevate in ambienti di medie dimensioni prevenendo l'insorgere di correnti d'aria sensibili nella zona occupata.
| modello |
L distanza minima (mm) |
| 80 | 300 |
| 150 | 430 |
| 200 | 430 |
| 230 | 550 |
| 250 | 550 |
| 300 | 550 |
| modello | EDU/S ugello con serranda |
EDU/SM con predisp. x motoriz. |
Servomotori per EDU/SM (fornito a corredo) | coprighiera | deflettore swirl | raccordo RF per tubo flessibile | raccordo RC per canale circolare | |||
| ON / OFF | MODULANTE | |||||||||
| 24V | 230V | 24V | 230V | |||||||
| euro | euro | euro | euro | euro | euro | euro | euro | euro | euro | |
| 80 | 142,13 | 339,14 | 204,25 | 216,09 | 293,06 | - | 30,41 | 49,29 | 31,13 | 68,26 |
| 150 | 268,54 | 444,26 | 297,50 | 307,86 | 426,27 | 488,43 | 44,14 | 65,18 | 52,65 | 94,58 |
| 200 | 343,88 | 520,70 | 55,14 | 74,96 | 70,25 | 129,69 | ||||
| 230 | 358,66 | 528,22 | 55,14 | 74,96 | 70,25 | 137,50 | ||||
| 250 | 372,55 | 534,72 | ||||||||
| 300 | 382,14 | 545,74 | ||||||||