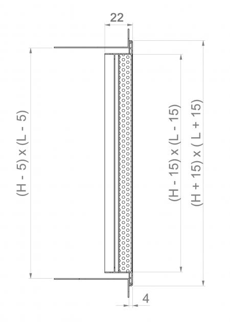
Griglie di mandata e ripresa dell'aria a pannello forellinato, con cornice da 15 mm.
Telaio perimetrale in alluminio.
Pannello in acciaio zincato.
Finitura: verniciatura colore bianco RAL 9016.
Installazione: fissaggio con calamite.
La maglia forellinata è realizzata secondo le seguenti specifiche:
-fori tondi alternati a 60°;
-rapporto vuoto/pieno 46%;
-diametro dei fori 5mm;
-distanza tra i centri 7mm.
Per la ripresa dell'aria all'interno dei locali.
- EPZR plenum zincato;
- EPIR plenum isolato;
- SC serranda di taratura in acciaio zincato con alette a movimento contrapposto.
Verniciatura nei colori RAL a scelta.
| H | L | |||
| 300 | 400 | 500 | 600 | |
| Sezione efficace m2 | ||||
| 300 | 0,037 | 0,050 | 0,064 | 0,077 |
| 400 | 0,050 | 0,068 | 0,086 | 0,104 |
| 500 | 0,064 | 0,086 | 0,108 | 0,131 |
| 600 | 0,077 | 0,104 | 0,131 | 0,157 |
Vk: velocità efficace (m/s)
m³/h: portata
Pa: perdite di carico in Pascal
dB(A): indice di rumorosità
L: larghezza
H: altezza
Tutte le misure sono espresse in mm.
| H |
Vk m/s |
L | |||
| 300 | 400 | 500 | 600 | ||
| portata m3/h | |||||
| 300 | 2 | 269 | 363 | 458 | 552 |
| 3 | 404 | 545 | 687 | 828 | |
| 4 | 538 | 727 | 916 | 1104 | |
| 400 | 2 | 363 | 491 | 618 | 746 |
| 3 | 545 | 736 | 928 | 1119 | |
| 4 | 727 | 982 | 1237 | 1492 | |
| 500 | 2 | 458 | 618 | 779 | 940 |
| 3 | 687 | 928 | 1169 | 1410 | |
| 4 | 916 | 1237 | 1558 | 1879 | |
| 600 | 2 | 552 | 746 | 940 | 1133 |
| 3 | 828 | 1119 | 1410 | 1700 | |
| 4 | 1104 | 1492 | 1879 | 2267 | |
|
V m/s |
dB(A) | |
| livello potenza sonora | 2 | 20/25 |
| 3 | 25/30 | |
| 4 | 35/40 |
|
V m/s |
Pa | |
| perdite di carico | 2 | 15 |
| 3 | 40 | |
| 4 | 70 |
Serranda di taratura in acciaio zincato ad alette con movimento contrapposto.
|
modello EGFR |
dimensioni | stacco superiore | stacco laterale | E | F | ||||
| L x H | L1 x H1 | P1 | n° stacchi | Ø d | P2 | n° stacchi | Ø d | ||
| 300x300 | 295x295 | 200 | 1 | 195 | 300 | 1 | 195 | 80 | 8 |
| 400x300 | 395x195 | 200 | 1 | 245 | 300 | 1 | 195 | 80 | 8 |
| 500x300 | 495x295 | 200 | 1 | 245 | 350 | 1 | 245 | 80 | 8 |
| 600x300 | 595x295 | 200 | 2 | 195 | 300 | 2 | 195 | 80 | 8 |
| 400x400 | 395x395 | 200 | 1 | 295 | 400 | 1 | 295 | 80 | 8 |
| 500x400 | 495x395 | 200 | 1 | 295 | 400 | 1 | 295 | 80 | 8 |
| 600x400 | 595x395 | 200 | 2 | 245 | 350 | 2 | 245 | 80 | 8 |
| 500x500 | 495x495 | 200 | 1 | 345 | 450 | 1 | 345 | 80 | 8 |
| 580x580 | 575x575 | 200 | 2 | 245 | 350 | 2 | 245 | 80 | 8 |
| 600x500 | 595x495 | 200 | 2 | 245 | 350 | 2 | 245 | 80 | 8 |
| 600x600 | 595x595 | 200 | 1 | 245 | 450 | 1 | 345 | 80 | 8 |
|
modello EGFR |
dimensioni | stacco superiore | stacco laterale | ||
| EPZR plenum zincato | EPIR plenum isolato | EPZR plenum zincato | EPIR plenum isolato | ||
| L x H | L1 x H1 | euro | euro | euro | euro |
| 300x300 | 295x295 | 40,35 | 55,38 | 44,39 | 60,76 |
| 400x300 | 395x295 | 55,07 | 71,59 | 60,56 | 78,70 |
| 500x300 | 495x295 | 58,41 | 76,05 | 67,17 | 87,43 |
| 600x300 | 595x295 | 68,40 | 87,43 | 75,24 | 96,19 |
| 400x400 | 395x395 | 58,41 | 77,70 | 69,63 | 96,96 |
| 500x400 | 495x395 | 67,63 | 82,78 | 76,59 | 104,45 |
| 600x400 | 595x395 | 81,78 | 108,29 | 94,03 | 119,13 |
| 500x500 | 495x495 | 80,16 | 100,38 | 93,88 | 134,23 |
| 580x580 | 575x575 | 80,16 | 108,37 | 92,15 | 124,62 |
| 600x500 | 595x495 | 86,43 | 114,59 | 99,38 | 130,89 |
| 600x600 | 595x595 | 102,68 | 135,69 | 118,05 | 173,39 |