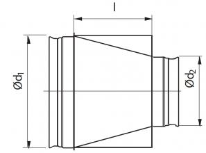
Moulded concentric reducer in galvanized sheet.
Sheet thickness :
- diameters 80-200 mm t = 0,7 mm;
- diameters 250-315 mm t = 0,75 mm.
Dimensions are expressed in mm.
* RCG with airtight seal
| Ø maschio d1 | Ø maschio d2 | L2 | L1 | L3 | Peso |
rid. concentrica RC |
rid. concentrica* RCG |
| misura nominale mm | misura nominale mm | mm | mm | mm | kg | euro | euro |
| 100 | 80 | 42 | 22 | 42 | 0,2 | 10,04 | |
| 125 | 80 | 42 | 35 | 42 | 0,3 | 10,75 | 13,02 |
| 100 | 45 | 23 | 40 | 0,3 | 10,75 | 13,21 | |
| 140 | 100 | 45 | 34 | 40 | 0,4 | a.r. | |
| 125 | 45 | 17 | 40 | 0,3 | a.r. | ||
| 150 | 100 | 42 | 40 | 40 | 0,3 | 11,41 | 15,62 |
| 125 | 45 | 22 | 40 | 0,3 | 11,41 | 14,47 | |
| 140 | 42 | 15 | 42 | 0,3 | a.r. | ||
| 160 | 100 | 45 | 45 | 40 | 0,4 | 11,41 | 14,52 |
| 125 | 43 | 30 | 40 | 0,4 | 11,41 | 14,62 | |
| 140 | 44 | 21 | 38 | 0,4 | a.r. | ||
| 150 | 40 | 13 | 44 | 0,4 | 11,41 | 15,20 | |
| 180 |
100 | 44 | 58 | 40 | 0,5 | a.r. | |
| 125 | 45 | 42 | 40 | 0,5 | a.r. | ||
| 140 | 42 | 33 | 40 | 0,5 | a.r. | ||
| 150 | 45 | 28 | 40 | 0,4 | a.r. | ||
| 160 | 45 | 21 | 42 | 0,4 | a.r. | ||
| 200 | 100 | 44 | 68 | 38 | 0,6 | 15,91 | 18,94 |
| 125 | 44 | 53 | 41 | 0,6 | 15,91 | 18,99 | |
| 140 | 42 | 43 | 42 | 0,6 | a.r. | ||
| 150 | 45 | 38 | 41 | 0,5 | 15,91 | 19,48 | |
| 160 | 44 | 33 | 41 | 0,5 | 15,91 | 19,62 | |
| 180 | 44 | 20 | 40 | 0,5 | 15,91 | ||
| 250 | 150 | 50 | 67 | 41 | 0,9 | 20,52 | |
| 160 | 42 | 62 | 39 | 0,9 | 20,52 | 27,10 | |
| 180 | 45 | 50 | 38 | 0,9 | 20,52 | ||
| 200 | 45 | 40 | 44 | 0,8 | 20,52 | 27,49 | |
| 280 | 200 | 55 | 56 | 42 | 1,0 | a.r. | |
| 250 | 60 | 24 | 45 | 0,9 | a.r. | ||
| 300 | 200 | 57 | 68 | 43 | 1,2 | 22,60 | |
| 250 | 60 | 36 | 45 | 1,0 | 22,60 | ||
| 280 | 60 | 23 | 52 | 0,9 | a.r. | ||
| 315 | 160 | 58 | 103 | 40 | 1,7 | 22,60 | |
| 200 | 60 | 78 | 44 | 1,5 | 22,60 | 32,39 | |
| 250 | 60 | 48 | 45 | 1,4 | 22,60 | 33,98 | |
| 300 | 60 | 15 | 54 | 1,2 | 22,60 |
All dimensions are espressed in mm.
| Ød1 | Ød2 | l | kg |
| 355 | 160 | 298 | 1,84 |
| 180 | 270 | 1,77 | |
| 200 | 243 | 1,71 | |
| 224 | 210 | 1,61 | |
| 250 | 174 | 1,56 | |
| 280 | 133 | 1,41 | |
| 300 | 106 | 1,30 | |
| 315 | 85 | 1,21 | |
| 400 | 160 | 365 | 2,44 |
| 180 | 337 | 2,38 | |
| 200 | 310 | 2,31 | |
| 224 | 277 | 2,23 | |
| 250 | 241 | 2,20 | |
| 280 | 200 | 2,01 | |
| 300 | 172 | 1,90 | |
| 315 | 152 | 1,86 | |
| 355 | 97 | 1,55 | |
| 450 | 200 | 378 | 2,99 |
| 224 | 346 | 2,90 | |
| 250 | 310 | 2,85 | |
| 280 | 269 | 2,70 | |
| 300 | 241 | 2,59 | |
| 315 | 221 | 2,50 | |
| 355 | 166 | 2,24 | |
| 400 | 109 | 2,64 | |
| 500 | 200 | 447 | 3,66 |
| 224 | 414 | 3,56 | |
| 250 | 378 | 3,51 | |
| 280 | 337 | 3,36 | |
| 300 | 310 | 3,25 | |
| 315 | 289 | 3,16 | |
| 355 | 234 | 2,89 | |
| 400 | 177 | 2,69 | |
| 450 | 109 | 2,37 |